Push-pull (stéréo) avec EL84
Hiver 2002 puis modifications en Avril 2012 et en Mars 2017.
.jpg)
Ce montage n'est pas pour débutants,
en raison des calculs d'adaptation aux circonstances d'application.
Sommaire : |
Je construis encore un ampli à tubes
Genèse du projet
Les pièces.
Il faut commencer par être certain d'avoir 2 très bons transfos de sortie. En amplification à lampe le transfo de sortie c'est IMPÉRATIF. Sans d'excellents transfos de sortie faites un autre montage, par exemple avec des transistors bipolaires en classe A ou des MOS Fet.
Depuis longtemps, je pensais construire un ampli à tubes. Et justement je disposais de 2 transfos de sortie push-pull pour EL84 de marque AUDAX, avec prise écran.
Il s'agit de transfos TU101 de bonne qualité, à ne pas confondre avec d'autres transfos AUDAX plus communs.
TU101
AUDAX n'existe plus depuis 2004.Auparavant une société fabriquait encore des produits AUDAX. |
Audax TU101
les caractéristiques annoncées de
ce transfo sont les suivantes:
puissance nominale 10 Watts
self primaire totale: 200
Henrys
self de fuite: 26 milli Henry
prises d'écran à 25%
résistance primaire 440 ohms
résistance secondaire totale: 2
ohms
bande passante à +/- 1 dB de 15 Hz
à 40 000 Hz
circuit magnétique 62,5 x 75 mm
sans entrefer, noyau 6,25 cm²
impédance primaire: 8000 ohms de
plaque à plaque, prises écran à
25% pour montage ultra
linéaire
impédances secondaires: 4 ; 9 ; 16
ohms
Je choisissais un schéma de base, le meilleur possible, et je l'adaptais aux composants dont je disposais.
Cet hiver, 2002 fut long, bien enneigé et froid, la température est descendue à moins 17° C à ARBIN (Savoie). A cette occasion je me mis au travail. Dans mon atelier en sous-sol il fait toujours 14°C en hiver et 18°C en été. J'ai donc un confort suffisant.
Le schéma de principe :
L'ampli que je construis a quelques particularités :
- polarisation fixe des tubes de puissance.
- Pas de condensateur intermédiaire entre la partie pré amplificatrice et la partie déphaseuse de la double triode 12AX7 (ECC83).
- Utilisation de transfos de sortie de qualité supérieure avec prise intermédiaire pour les écrans.
Au travail
Je n'avais besoin que de lampes, tous les autres composants sortirent des épaves ou fonds de tiroirs.
J'ai commandé les lampes chez HALFIN en Belgique.
Le coffret provient d'une vieille armoire électrique.
Le transfo d'alimentation est celui d'un très ancien générateur BF à lampes. Il est capable de délivrer une puissance bien supérieure à ce que demande cet ampli.
J'ai, dans un premier temps, conservé un redressement par valve électronique à vide (2 EZ81) ce genre de redressement est plus doux, sans seuil.
A l'origine, en 2002, les condos de filtrage étaient des 1000 microfarads 350 volts. Ils dormaient dans un carton depuis des années. Ils sont doublés par des 1 uF au papier (les deux carrés bleus sur la photo).
Il est vrai (selon un technicien) que les condensateurs de 1000µF (trop de capacité) ne sont pas adaptés à des redresseurs à vide pour une question de courbe enveloppe (que je ne connais pas). Toutefois cela fonctionne bien.
Et depuis 2012 je suis passé au redressement par des diodes silicium.
Si vous n'avez pas de condensateurs électrolytiques de filtrage en stock, vous pouvez utiliser 2 électrolytiques de 220uF 400V ou 450V, trouvables chez Conrad par ex. C'est ce que j'ai fait en 2012, dix ans plus tard.
Une self de filtrage de 8 à 10 henrys est recommandée.
Si vous ne disposez pas d'éléments pour construire votre alimentation, voici un schéma standard
que nous reverrons plus bas:

Trois semaines

Pendant 3 semaines je disparus de la circulation, mon atelier est au sous sol.

Chaque composant de récup. ou neuf fut testé et assemblé.
L'ampli fonctionne très bien.
C'est fini, maintenant il faut faire la déco.
Comme le printemps reviens je n'ai plus envie de rester à l'atelier, qui est en sous sol. Ma décoration a donc été bâclée.
-------------------------------
Pour vous donner une idée des design commerciaux, voici des photos d'ampli identiques commerciaux et bien finis, ces photos pourraient vous inspirer ?


On continue...
Ne vous inquiétez pas pour les boites de thé LIPTON qui servent de blindage pour les transfos de sortie, elles seront peintes...et cette pub n'est qu'éphémère.
Et maintenant 2 options de présentation :
Ma version 2002 = en caisse.
Ma version 2012 = sans caisse.
Le son des EL84 est vraiment très bon, la richesse de leurs harmoniques agréable. J'ai soigné le filtrage et tous les câblages. Le problème des amplis à tubes c'est la ronflette. Il faut impérativement soigner le filtrage et le câblage. Un ampli à tubes doit être caractérisé par une absence de bruit de fond. Il convient de faire le nécessaire. Quand ça ronfle c'est qu'il y a un bogue quelque part.
Avec ces transformateurs TU101, une alimentation surdimensionnée, un câblage soigné, non seulement vous ne serez pas déçus, mais vous serez favorablement étonnés.
Un spécialiste qui écouta cet ampli m'indiqua que jamais il n'aurait pensé qu'avec ce matériel il eut été possible d'atteindre un tel résultat.
A propos de la qualité du son :
http://www.abcelectronique.com/forum/showthread.php?t=20775
Un lecteur averti a écrit : (Techniguitare)
Pour ce qui est de la qualité du son avec un ampli lampe, le mot "fidèle" c'est pas vraiment exact...
Au contraire un ampli lampe ne fait pas dans la HI-FI, il ne restitue pas le son d'un CD, par exemple, exactement comme il a été enregistré, mais lui donne une couleur plus chaude... Beaucoup d'oreilles averties préfèrent ce genre d'ampli, mais c'est très subjectif... L'ampli à tube reste un ampli "à effet".
De plus à puissance égale, un ampli lampe semble plus "puissant" qu'un ampli transistor, j'ai mis ce terme entre guillemets parce que théoriquement c'est faux, mais à l'écoute le son est plus présent et donne par ses harmoniques une sensation de puissance.
Allez voir sur techniguitare pour de plus amples explications.
Si vous êtes mécontents de votre ampli à tubes, c'est qu'il y a une erreur dans votre conception ou construction.
Le schéma complet :
Alimentation:
Variantes
Mon alim. perso est compliquée parce que j'ai utilisé un transfo de récup. avec de multiples tensions.
Mais dans un schéma standard tout transfo ad 'hoc pour double push-pull d'EL84 conviendrait.
J'avais 2 énormes condos de 1000uF 350 volts. Rien n'empêche d'utiliser des condos plus classiques de 220uF et de placer une self de filtrage. Les condos neufs se trouvent chez Radiospares ou chez Conrad (entre autres) et la self chez MAGNETIC ou chez Elettronica Novarria (entre autres aussi).
Ci dessous, rappel, une alimentation standard, de base :
Grosso modo la haute tension nécessaire va de 250 à 320 volts. Avec des transfos de sortie à prise intermédiaire une tension de 260-275 volts suffit.
Personnellement j'ai ajusté la haute tension à 275 volts sur les transfos de sortie.
Chacun, selon son matériel, devra adapter en consultant les courbes caractéristiques des EL84.
2012 Modifications de l'alimentation
Le 28 Mars 2012 j'ai modifié l'alimentation. J'ai remplacé mes valves redresseuses à vide EZ81 par un redressement silicium.
J'ai donc fabriqué un ersatz de redresseuse biplaque GZ32.

La résistance interne des valves redresseuses à vide étant forte (100 à 200 ohms) le seul fait de les remplacer par des diodes au silicium améliore considérablement le rendement. Je gagne 25 volts.
Mais j'ai le risque d'entendre un bruit de redressement car c'est cela l'inconvénient des diodes silicium, ce bruit est un petit ronflement à 100 Hz.
Après essai je n'entends pas ce ronflement. C'est gagné !!
Je pense que cela est dû à la très forte capacité de mes condensateurs de filtrage (1000µF 350V) et à leur découplage par de forts condensateurs polyesters.
Pour caser ce redresseur, je concocte donc un ersatz de tube redresseur sur socket Octal :
Les diodes sont des BY255 (1300V 3A = increvables) une résistance de 10 ohms en série avec chaque diode amortit le pic d'intensité au démarrage.
.jpg)

Ci-dessus : L'ersatz en place.
Autres combines :
Si vous disposez d'un bon transfo d'isolement 230VAC-230VAC (100W par exemple) il peut suffire pour obtenir votre haute tension de 250V. Un autre transfo 230VAC-6V 6A ou 12V 3A, vous permettra d'alimenter les filaments. Pour la polarisation un petit transfo 230V-24V fera l'affaire.
Filtrage des préamplificatrices = étage d'entrée
Pour les étages d'entrée (les 12AX7) on arrive en 250-265 volts et on prévoit une cellule de filtrage supplémentaire qui peut être déjà prévue dans l'alimentation.
Ainsi les variation de tension dues aux appels de puissance des tubes finaux n'auront aucune répercussion sur les étages d'entrée. C'est recommandé.
La résistance de filtre est à calculer empiriquement selon la haute tension d'origine. Une chute de 10 volts représentent un bon compromis.
Transformateurs de sortie:
VARIANTE: Si vous ne disposez pas de transfos de sortie avec prise spéciale écran adaptez votre schéma à des transfos de sortie plus ordinaires..... C'est moins bon, mais c'est quand même très correct.
d.jpg)
Polarisation :
Polarisation fixe ou automatique:
La polarisation automatique n'exige pas de réglage. Il suffit d'adapter la résistance de cathode avec la masse pour obtenir la tension de polarisation désirée. Valeur entre 120 et 150 ohms 5W pour 1 tube. Un condensateur de découplage de 100 uF 63 volts est indispensable (pour un tube).
En polarisation fixe on dispose d'une source de tension négative par rapport à la masse, très soigneusement filtrée, et on ajuste cette tension pour l'appliquer sur la grille du tube via une résistance de forte valeur 220 à 750 kOhms. Cette tension règle le débit du tube. Ce système est utilisé dans les amplis "poussés" ou quand on veut utiliser intégralement la haute tension sans en perdre dans une résistance de polarisation automatique.
Voyez ci-dessous la différence :

Réglage d'une polarisation :
La procédure est plus simple qu’il n’y parait.
Principe :
La polarisation négative d’une grille se mesure par rapport à la cathode.
Chapitre 1 : Étage préamplificateur +déphaseur :
ECC83 (en polarisation automatique)
1° étage :
D’abord vous mesurez au voltmètre digital ou électronique les tensions sur le premier étage de 12AX7 = ECC83.
Il faut que la tension soit de 0,5 V sur la cathode et environ 67 volts sur l’anode.
Ceci voulant dire que la grille (qui est la masse) est polarisée à -0,5 volts.
Donc nous nous comprenons bien la mesure entre grille et cathode doit donner – 0,5 volts
Et d’une!
2° étage :
Ensuite il faut que la cathode du deuxième étage de ECC83 (12 AX7) ait une tension supérieure de 3 volts à l’anode du 1° étage.
Cette tension se règle en ajustant le potentiomètre de 50 KOhms.
Si cela ne va pas quelquefois il faut augmenter ou diminuer la valeur de la résistance de 52 KOhms qui est en série avec le potentiomètre de 50 KOhms de façon à ce que ledit potentiomètre puisse faire varier la tension de cathode correctement.
Cela pour que la grille du deuxième étage (qui est au potentiel anodique du premier étage) soit polarisée à – 3 volts par rapport à sa cathode. (-2 volts est acceptable aussi).

Note importante :
La mise au point de ce double étage sans condensateur de liaison est délicate. Si vous avez des difficultés pour obtenir les 67V sur l'anode de première triode et les 70V sur la cathode de la deuxième triode, vous pouvez tenter la méthode suivante :
- Bien vérifier s'il n'y a pas un bug dans le câblage, c'est fréquent et cela arrive à tous.
- D'abord en 1 vous isolez les 2 triodes en coupant (dessouder un bout) la connexion.
- En 2 vous essayez diverses résistance 1K, 2,2K pour avoir 67V.
- Au besoin vous portez la 650K à 1M et recommencez.
- Quand vous avez 67V. Vous passez à la deuxième triode.
- Le potar de 47K doit être à mi course.
- Vous modifiez (diminuer) en 3 (par ex 68K, 56K) pour avoir 70V.
- Vous rétablissez la connexion.
- Cela ne doit plus bouger et si cela bouge un peu vous avez le potar de 47K pour fignoler.
Pour info, un lecteur (au 01/01/2012) m'indique que les tensions sont obtenues avec RA1= 710K, RK1=2,2K, RA2=56K et RK2 = 125K.
La raison est simple : tout dépend de la tension et des caractéristiques de votre tube 12AX7. Les séries construites sont rarement identiques. (Il en est de même avec les transistors).
Dans le cas ou vous échouez, il faudra séparer les étage et utiliser un autre schéma de préampli-déphaseur avec condensateur de liaison (C'est dommage pour vous !).
Chapitre 2 : Étage de puissance (EL84)
EL84 (en polarisation fixe)
Pour EL84 on ajuste le courant anodique à 45 mA.
Pour cela la tension négative de bias peut être réglée de -6 volts à -10 volts selon la tension appliquée à l’anode, grâce à un potentiomètre linéaire.
On peut placer en sortie d'anode de chaque tube une résistance de 10 ohms, elle est sans influence sur le rendement. Mais elle permet de mesurer le débit anodique. En effet si le débit est de 45 mA la tension aux bornes de cette résistance de test sera 0,45 volts. Ainsi avec les potentiomètres de réglage de la polarisation on peut mettre exactement la tension négative qui commande un débit de 45 mA sur chaque tube EL84. Cette tension est de l'ordre de -6 à -9volts.
On peut aussi placer dans la liaison entre la cathode et la masse une résistance de 1 ohm. Avec les voltmètre digitaux précis, il est facile de mesurer 0,05V pour 50mA.
Débit anodique et débit total
Si vous mesurez le débit sur la cathode il faut inclure au débit anodique le débit de l'écran. Chaque tube selon la marque a des préconisations de débit anode et écran. Personnellement et au pifomètre j'estime le débit d'écran à 10% du débit anodique pour une EL84. Ainsi pour 45 mA anodique j'ajoute 4,5 mA pour l'écran. Donc mon débit total sera arrondi à 50 mA. Plus la tension est élevé plus on réduit le débit.
Exemple pour une EL84 JJ de 2003, fonctionnant avec 250V :
|
Class A1 amplifier: -------------------------- Débit total : 53,5 mA sous 250V. |
Et la courbe ?
La courbe d'un tube (voir images plus bas) c'est très bien à condition que ledit tube respecte sa courbe. Et ce n'est pas toujours le cas, loin s'en faut.
Un petit exemple quand même :
Si vous avez 250 volts à l’anode et que vous réglez le bias à -8 volts vous aurez un courant anodique de 42,5 mA.
Si vous avez 300 volts à l’anode vous réglez le bias (= la polarisation) à presque – 9 volts pour avoir un courant de moins de 40 mA car si vous mettez plus vous dépassez la puissance de EL84 qui va s’user prématurément (ne jamais dépasser la ligne pointillée Wa12W [= watts anodique 12W] qui indique la puissance dissipée maximale).

Quelquefois, quand la tension anodique est très forte, disons 300 volts et plus, il est préférable de d'abord diminuer la tension de l'écran (VG2) ce qui redonne une courbe plus souple: comme ci-dessous avec écran (VG2) à 210 volts.

Temporisation :
C'est quoi ça ?
Lorsque l'on allume l'ampli, si votre haute tension est redressée par des redresseurs solides (diodes) ladite haute tension est produite brusquement et charge brutalement les condensateurs à la valeur dite de crête, cala parce que les tubes ne débitent pas puisqu'il leur faut un temps pour que leurs filaments chauffent.
Il apparait donc utile de démarrer en douceur et de laisser aux tubes le temps de chauffer. Cela s'appelle en anglais un soft start (démarrage en douceur).
Ce module consiste à limiter pendant un temps (= temporisation) l'irruption (en surtension) de la haute tension.
Il existe des quantités de schémas sur le WEB. J'ai concocté un schéma très primitif et minimal.

Fonctionnement :
Au moment de l'allumage général une résistance de 5 à 10 K est insérée dans la ligne HT juste après les redresseurs. La haute tension débite peu et charge doucement les condensateurs.
Pendant ce temps, dans le module temporisateur le condensateur marqué * se charge doucement à travers la résistance de 1 Mo. Quand la tension de ce condensateur atteint 2,5 à 3V le MosFet comment à conduire et fait coller le relai qui court circuite la résistance limitatrice. Alors à ce moment là toute la haute tension est appliquée aux condensateurs et aux tubes.
Avec 200µF j'obtiens une temporisation de 12 secondes. Il vous appartient de calculer empiriquement la valeur de ce condensateur. Le module temporisateur est alimenté en 12V-15V par un doubleur de tension qui reçoit le 6,3V alternatifs des filaments. Tout de circuit est flottant ce qui veut dire qu'il n'a pas de connexion avec la masse générale de l'ampli.
2017 Mars
Je révise cet ampli, un des tubes EL84 ne débite plus, je le change en trouvant un tube appairé (Merci Patrick !). Je supprime l'ersatz de valve redresseuse et j'intègre le redresseur dans un coffret fixe. Je supprime le fusible sur le point milieu qui va à la masse et je place 2 fusibles sur les arrivées de l'alternatif haute tension. Je place en parallèle avec chaque diode un condensateur de 1000 picofarads = 1 nanofarad, isolé à 1000V.
Ces condensateurs ont pour rôle d'amortir le bruit de la diode lorsqu'elle se débloque à 50 Hz, dès 0,5 à 0,7V, pendant la phase de redressement. N'oubliez pas qu'une diode silicium ne conduit brusquement, dans le sens passant (elle se lâche) qu'à partir de 0,5 à 0,7 V et non pas à partir de 0V comme une valve redresseuse à vide. C'est pour cela que les redresseuses à vide n'ont pas disparu, elles sont beaucoup plus silencieuses et ceci compense leur faible rendement.
schéma ci-dessous :

Aout 2017 Je change l'alimentation
Régulation électronique
On m'a donné un beau transfo, tout neuf, 200W, donnant en sortie 6,3V et 250V.

Et j'ai envie de faire une alimentation haute tension régulée électroniquement. Maintenant que j'ai "la main" pour cela.

Le MosFet est un 2SK1358 qui tient 900V, 9 ampères et supporte jusqu'à 150 watts.
Il a de
nombreuses équivalences pour cet usage. Par ex. IRFPF50.
Les 2 zéners 200V et 61 volts sont des 3 watts (trouvées sur EBay).
.jpg)
Légende :
- R de 18K 2W pour les zéners
- Zéner 200V et 2A son petit radiateur. Le vrai nom est "dissipateur thermique".
- Zéner 61 V
- condensateur 47µF 450V filtrage de zéners et soft-start.
- Résistance de fuite 47K 2W
- BC547 limiteur de sortie
- Résistance 2,2 ohms limiteuse
- 1N4007 anti retour de tension
- Zéner 12V protection gate du MosFet
- condo 100 nF 1000V sortie
- condo 10µF 450V sortie
- Fil de sortie
- MosFet 2SK1358 (Conrad)
- Gros radiateur du MosFet (noir). Le vrai nom est "dissipateur thermique".
Une alimentation haute tension doit être essayée et testée "sur table" avec une charge. La charge consiste à placer en série 2 ampoule 220V 25 W. J'utilise une alimentation d'atelier, calée sur 375V.
Essais et
tests. Les 2 ampoules illuminées constituent la charge
de la haute tension. ainsi cela évite des problèmes
quand on entre ce module dans le coffret. On est certain
qu'il fonctionne... :-)
Radiateur
doit être appelé techniquement "dissipateur
thermique".
La Zéner 200V
3W chauffe trop, à mon gout, je lui bricole un petit
dissipateur thermique, très léger.
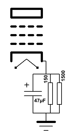
J'abandonne la polarisation fixe. Je place sur chaque paire de cathode une résistance de 135 ohms : 1 R de 150 ohms 2 W et en parallèle une R de 1500 ohms 0,5 W = 136 ohms. Je découple avec 2 condos 47 µF 50V.
Pour faire 135 ohms.
Les cathodes.
Aspect final.
Janvier 2023 panne + linéarisation
1/ Panne
L'appareil tombe en panne en janvier 2023.
Je constate que l'un des borniers de raccordement sur le 6,3 volts des filaments a fondu et le fil s'est coupé.
C'était dû à un mauvais sertissage du fil venant du transfo.
Je change la pièce et je rattrappe le fil en amont et je soude un nouveau fil.

Tout repart normalement.
2/Linéarisation
Je sens à l'oreille que cet ampli sonne plus dans les graves que les aigûs.
Je place en entrée une correction de type préemphasis passif et la réponse devient linéaire jusqu'à 15 khz et presque linéaire à 20 Khz..


Le très très haut de gamme avec EL84
Dans les années 1985. Une légende... Le luxe à la française !

J'ai retrouvé ces quelques indications et photos sur le WEB.
Une petite entreprise de Bayonne, nommée "Atelier de Lutherie Electronique" = ALE, fabriqua des amplificateurs de salon de très haut de gamme composé d'un push pull ou d'un quartet d'EL84. 10 ou 20W par voie.
Ces amplificateurs étaient fabriqués de façon traditionnelle (sans circuit imprimé) en sélectionnant les composants les plus performants de l'époque, sans aucune restriction, ni réserve, le cout étant sans importance. Des composants militaires ou issus de la technologie spatiale étaient utilisés. Les transformateurs, fabriqués sur cahier des charges par MILLEROUX, étaient surdimensionnés, le filtrage surfiltré.
La décoration de l'amplificateur se faisait à la demande du client. Il s'agissait donc de pièces rares, très peu d'exemplaires fabriqués, relevant de l'industrie dite "du luxe". Certaines façades avant étaient garnie de marquèterie.
Les photos ci-dessous proviennent d'un forum du WEB.


Les résultats étaient à la mesure de la construction et les revues audiophiles de l'époque rédigèrent des articles sur ces amplis. Vous ne trouverez pas ces amplis sur le marché de l'occasion. Ces pièces uniques resteront chez leurs propriétaires ou leur cessionnaires. Il parait qu'elles étaient garanties à vie.
Le luxe à la française !2013 Renaissance puis disparition de ALEChristophe CONVERT ( fondateur de L'Atelier de Lutherie Electronique = ALE).L'Atelier de Lutherie Electronique (=ALE) à BAYONNE était à nouveau ouvert et aujourd'hui en 2017 le lien est à nouveau rompu ? Mystère ?. ![]() ![]() |
Et aujourd'hui : En 2017 Combien ça coute ?
Un ampli correct stéréo avec push d'EL84.
Sauf à trouver quelques productions chinoises, destinées à
la consommation rapide, un amplificateur stéréo avec push
pull d'EL84, de bonne facture, européen d'occident ou
américain, coute
plus de 1000 euros.
Ci-dessous 1 exemple non exhaustif.
http://nc-audio.com/leben-cs300f-n.htm
LEBEN - CS300X Prix : de 2900 € à 3200 €.
Et en Russie ou Asie ?
Les prix sont moins élevés. Qualité inconnue, de 350 à 800 euros.
DestinY 6P1P amplificateur à tubes
699 euros
sur Amazon. Attention le tube russe 6P1P, ou son frère chinois 6P1,
n'est pas équivalent à EL 84 mais à 6AQ5 / EL90 (moins puissant) 4W
par tube au lieu de 6 watts !
Voir aussi chez les chinois YAQIN MC-84L à 374 dollars et la marque Cayin avec des tubes 6P1.
retour page
principale (return home page)
FIN. Article écrit en Aout 2002, revu en Mai 2008, et encore revu en Janvier 2012. Et encore revu en Mars 2012. Et encore revu en Novembre 2013. Et mis à jour le 13 Juillet 2015 pour le "Mobile Friendly". MAJ 6 Mars 2017; MAJ 7 Aout 2017.MAJ janvier 2023



.jpg)